Flachspannhebel | SM 1195

Filter
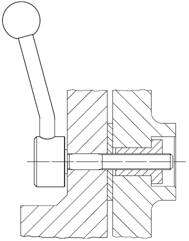
Produktinformationen "Flachspannhebel | SM 1195 "

verstellbar
mit Innengewinde

Material: 
Sicherungsring: Kunststoff (Polyacetal)
Knopf: Kunststoff Duroplast
Kugelknopf SM 1265, schwarz glänzend
Deckel: Kunststoff, hellgrau
Hebel:
ST: Stahl, brüniert
NI: Edelstahl rostfrei 1.4305, matt gestrahlt

Form D: Hebel gerade
Form E: Hebel gebogen, 15° angewinkelt

Diese Flachspannhebel sind besonders niedrig gebaut und kommen vor allem dort zum Einsatz,
wo der Spannbereich begrenzt oder eine bestimmte Spannstellung erwünscht ist.
Der Gewindeeinsatz ist durch eine Kerbverzahnung mit dem Griff lösbar verbunden.
 Hebelverstellung durch Ziehen.
Durch Anheben der Hebelnabe wird die Kerbverzahnung frei und der Spannhebel kann in die günstigste Spannposition geschwenkt werden.
Selbständiges Einrasten beim ,,Loslassen’’ des Griffes.

RoHS-konform: ja

Bedientyp: Hebel, Spannhebel
Besonderheit: Feststellen durch selbstständiges Einrasten, Hebel gerade, Hebel schräg, mit Innengewinde
Compliance: RoHS-konform
Material: Buchse/Schraube: Edelstahl, Buchse/Schraube: Stahl, Duroplast, Hebel: Edelstahl, Hebel: Stahl, Knopf / Griff: Kunststoff
Oberfläche: Edelstahl - matt gestrahlt, Kunststoff - glänzend, Stahl - brüniert

Ähnliche Artikel

Spannhebel Edelstahl | SM 1175
Spannhebel Edelstahl | SM 1175
starrmit schrägem Hebel Material: Edelstahl 1.4305, nichtrostendmatt gestrahltKugelknopf DIN 319 Duroplast schwarz glänzend Form E: Hebel schräg, mit Gewinde Einsatz als Spannelement oder für Schaltvorgänge.RoHS-konform: ja

Ab 16,96 €* inkl. MwSt.
Spannhebel | SM 1176
Spannhebel | SM 1176
verstellbarmit Innengewinde Materlal: Knopf: DIN 319; Kunststoff Duroplastschwarz glänzend Sicherungsring: Kunststoff (POM)ST: Stahl, brüniert Ni: Edelstahl rostfreiNabe und Schaft: matt gestrahlt Form E: Hebel schräg, 20° angewinkeltForm D: Hebel gerade Einsatz bei begrenztem Spannbereich oder bestimmter Spannstellung. Der Gewindeeinsatz ist mit der Nabe durch eine Kerbverzahnung lösbar verbunden. Hebelverstellung erfolgt durch Ziehen bzw. Anheben des Hebels. Es löst sich die Kerbverzahnung und der Hebel kann geschwenkt werden. Beim Loslassen selbsttätiges Einrasten. RoHS-konform: ja

Ab 17,24 €* inkl. MwSt.
Spannhebel | SM 1177
Spannhebel | SM 1177
verstellbarmit Schraube Material:Sicherungsring: Kunststoff (Polyacetal POM) Knopf: DIN 319; Kunststoff Duroplastschwarz glänzend ST: Stahl brüniertSchraube: Festigkeitsklasse 5.8NI: Edelstahl rostfrei 1.4305Nabe und Schaft: matt gestrahlt Form E: Hebel schräg, 20° angewinkeltForm D: Hebel gerade Einsatz bei begrenztem Spannbereich oder bestimmter Spannstellung.Der Gewindeeinsatz ist mit der Nabe durch eine Kerbverzahnung lösbar verbunden.Hebelverstellung erfolgt durch Ziehen bzw. Anheben des Hebels.Es löst sich die Kerbverzahnung und der Hebel kann geschwenkt werden.Beim Loslassen selbsttätiges Einrasten. RoHS-konform: ja

Ab 17,91 €* inkl. MwSt.
Spannelement "actima" | SM 1088-9
Spannelement "actima" | SM 1088-9
Zug- und Druckspanner Material:Gehäuse: Thermoplast, schwarzGrundkörper: Stahl, brüniertKugelknopf: Duroplast PF 31 rot ähnl. RAL 3003Zusatzteile: Stahl, brüniert Form QRZ: mit Querachse in der Bohrung, rechts ZugForm QLZ: mit Querachse in der Bohrung, links ZugForm BRZ: mit durchgehender Bohrung, rechts ZugForm BLZ: mit durchgehender Bohrung, links ZugForm QRD: mit Querachse in der Bohrung, rechts DruckForm QLD: mit Querachse in der Bohrung, links DruckForm BRD: mit durchgehender Bohrung, rechts DruckForm BLD: mit durchgehender Bohrung, links Druck ZusatzteileForm K: KegelForm P: PrismaForm S: Scheibe Das kompakte Spannelement kann je nach Ausführung zur Zugspannung bzw. Druckspannung eingesetzt werden. Der Zustellweg beträgt 10 mm. Innerhalb des Spannweges von 2 mm bleibt das Spannelement selbsthemmend. Die höchstzulässige Spannkraft liegt bei 4,9 kN. RoHS-konform: ja

Ab 29,96 €* inkl. MwSt.
Spannmutter | SM 1193
Spannmutter | SM 1193
aus Metallähnlich DIN 99 Material:ST: Stahlverzinkt, blau passiviertNI: Edelstahl rostfrei 1.4301matt gestrahlt Schaft stumpf aufgeschweißt Spannmuttern SM 1193 sind eine preisgünstige Alternative zu Kegelgriffen DIN 99. RoHS-konform: ja

Ab 3,17 €* inkl. MwSt.
Flachspannhebel | SM 1194
Flachspannhebel | SM 1194
verstellbarmit Schraube Material: Sicherungsring: Kunststoff (Polyacetal)Knopf: Kunststoff DuroplastKugelknopf SM 1265, schwarz glänzendDeckel: Kunststoff, hellgrauHebel und Schraube:ST: Stahl, brüniert. Schraube Festigkeitsklasse 5.8NI: Edelstahl rostfrei 1.4305, matt gestrahlt Form D: Hebel geradeForm E: Hebel gebogen, 15° angewinkelt Diese Flachspannhebel sind besonders niedrig gebaut und kommen vor allem dort zum Einsatz, wo der Spannbereich begrenzt oder eine bestimmte Spannstellung erwünscht ist.Der Gewindeeinsatz ist durch eine Kerbverzahnung mit dem Griff lösbar verbunden.Hebelverstellung durch Ziehen. Durch Anheben der Hebelnabe wird die Kerbverzahnung frei und der Spannhebel kann in die günstigste Spannposition geschwenkt werden. Selbständiges Einrasten beim ,,Loslassen’’ des Griffes. RoHS-konform: ja

Ab 20,38 €* inkl. MwSt.