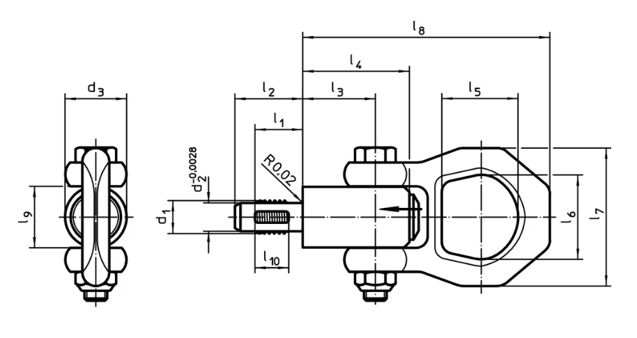
Gewindetragbolzen [inch] | SM 1273-834

Filter
Produktinformationen "Gewindetragbolzen [inch] | SM 1273-834 "

selbstsichernd
mit beweglichem Schäkel
in INCH-Abmessungen

Material:
Druckknopf: Aluminium, rot eloxiert
Feder: rostfreier Stahl
ST:
Bolzen / Schäkel: Vergütungsstahl, vergütet, manganphosphatiert
Gewindeelement: rostfreier Stahl 1.4542, ausscheidungsgehärtet
NI:
Bolzen: rostfreier Stahl 1.4542, ausscheidungsgehärtet
Schäkel: rostfreier Stahl 1.4571
Gewindeelement: rostfreier Stahl 1.4542, ausscheidungsgehärtet

Die Gewindetragbolzen SM 1273-834 aus Stahl und aus rostfreiem Stahl sind korrosionsgeschützt.
Die Varianten aus rostfreiem Stahl sind aufgrund ihrer verbesserten Korrosions- und Witterungsbeständigkeit
gut für den Einsatz im Außenraum geeignet.

Drücken = Entriegeln
Die Gewindetragbolzen SM 1273-834 sind schnell und einfach einsetzbare, robuste Tragelemente mit beweglichem Schäkel.
Durch Drücken des Betätigungsknopfes wird die Verriegelung der Gewindesegmente aufgehoben
und der Tragbolzen kann in das Aufnahmegewinde hinein bzw. aus ihm heraus bewegt werden.
Es entfällt somit das zeitaufwändige Ein- und Ausschrauben wie z. B. bei einer Ringschraube.
Ein Sicherungssteg schützt den Betätigungsknopf vor unbeabsichtigtem Auslösen.
Keine speziellen Tragehilfen am Werkstück erforderlich.

Montage:
Gewindetragbolzen müssen in lehrenhaltigen Gewinde eingesetzt werden.
Knopf eindrücken und gedrückt halten | Gewindetragbolzen einstecken | Knopf loslassen (Der Knopf muss sich wieder in Ausgangsstellung befinden.) | Gewindetragbolzen von Hand andrehen, bis er vollflächig auf der Auflagefläche aufliegt. | Es muss sichergestellt sein, dass die Gewindesegmente im Aufnahmegewinde eingerastet sind.
Der Knopf (A) ist arretiert, wenn er durch die Federkraft wieder in die Ausgangsstellung zurück gefedert ist.
Knopf unter Last nicht betätigen!
Demontage:
Gewindetragbolzen ca. eine viertel Umdrehung entgegen dem Uhrzeigersinn aufdrehen | Knopf eindrücken und gedrückt halten | Gewindetragbolzen herausziehen | Knopf loslassen.

Hinweise:
- Gewindetragbolzen sind gebaut für das Heben und Halten von Einzellasten (keine Personen!!).
- Gewindetragbolzen sind nicht für das ständige Rotieren der Last geeignet.
- Verschmutzungen (z. B. Schleifschlamm, Öl- und Emulsionsablagerungen, Stäube...) können die Funktion von Gewindetragbolzen beeinträchtigen.
- Vor jedem Gebrauch sind Gewindetragbolzen auf sichtbare Mängel (z. B. Verformungen, Brüche, Risse, Beschädigungen, fehlende Kugeln, Korrosion, Funktion der Entriegelung) zu untersuchen.
- Gewindetragbolzen müssen vollständig in ein lehrenhaltiges Gewinde eingedreht werden und vollflächig auf der Auflagefläche aufliegen.
- Beim Einsetzen von einem Gewindetragbolzen muss das Rotieren der Last verhindert werden.
- Stoß- und Schlagbelastungen auch der nicht im Einsatz befindlichen Gewindetragbolzen sind zu vermeiden.
- Die volle Beweglichkeit des Schäkels muss gewährleistet sein.
- Beschädigte Gewindetragbolzen dürfen nicht weiter benutzt werden.
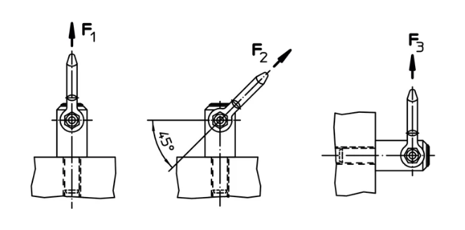
- Die Belastungswerte F1 / F2 / F3 (Tabelle Datenblatt) gelten für das Heben in einer Aufnahme aus Stahl.

Temperatureinsatz bis max. +250 °C.

Compliance:
RoHS-konform: ja - Enthält Blei – Konform gemäß den Ausnahmen 6a / 6b / 6c.
Enthält SVHC-Stoffe >0,1% w/w – SVHC Liste [REACH] Stand 25.06.2025.
Enthält Proposition 65 Stoffe.
Frei von Konfliktmineralien.

ähnliche Artikel

Kugeltragbolzen | SM 1273-83
Kugeltragbolzen | SM 1273-83
Durchmesser 1: 10,00 | Länge 1: 15,00 | Material: Stahl/steel
selbstsicherndmit Schäkel Material:Druckknopf: Aluminium, rot eloxiertFeder: Edelstahl rostfreiST: Bolzen: Vergütungsstahl, vergütet, manganphosphatiertSchäkel: Vergütungsstahl, vergütet, manganphosphatiertNI: Bolzen: Edelstahl rostfrei 1.4542, ausscheidungsgehärtetSchäkel: Edelstahl rostfrei 1.4571 Drücken = EntriegelnSchnell und einfach einsetzbares, robustes Tragelement mit beweglichem Schäkel und Sicherungssteg gegen unbeabsichtigtes Lösen.Keine speziellen Tragehilfen am Werkstück erforderlich. Montage:Knopf eindrücken und gedrückt halten | Kugeltragbolzen einstecken | Knopf loslassen (Der Knopf muss sich wieder in Ausgangsstellung befinden.)Der Knopf (A) ist arretiert, wenn er durch die Federkraft wieder in die Ausgangsstellung zurück gefedert ist.Knopf unter Last nicht betätigen!Demontage:Knopf eindrücken und gedrückt halten | Kugeltragbolzen herausziehen | Knopf loslassen.Hinweise:- Kugeltragbolzen sind gebaut für das Heben und Halten von Einzellasten (keine Personen!!).- Kugeltragbolzen sind nicht für das ständige Rotieren der Last geeignet.- Verschmutzungen (z. B. Schleifschlamm, Öl- und Emulsionsablagerungen, Stäube...) können die Funktion von Kugeltragbolzen beeinträchtigen.- Vor jedem Gebrauch sind Kugeltragbolzen auf sichtbare Mängel (z. B. Verformungen, Brüche, Risse, Beschädigungen, fehlende Kugeln, Korrosion, Funktion der Entriegelung) zu untersuchen.- Verriegelung der Kugeln muss durch die Federkraft selbstständig erfolgen- Die volle Beweglichkeit des Schäkels muss gewährleistet sein.- Beschädigte Kugeltragbolzen dürfen nicht weiter benutzt werden.- Die Belastungswerte F1 / F2 / F3 (Tabelle Datenblatt) gelten für das Heben in einer Aufnahme aus Stahl und x min. = 1,5 mm.Für den Einsatz sind Bohrungen H11 geeignet.Der Kugeltragbolzen ist korrosionsgeschützt.Temperatureinsatz bis max. +250 °C. RoHS-konform: jaEnthält Blei – Konform gemäß den Ausnahmen 6a / 6b / 6c.

Varianten ab 82,92 €* inkl. MwSt.
86,20 €* inkl. MwSt.
Gewindetragbolzen | SM 1273-831
Gewindetragbolzen | SM 1273-831
Durchmesser 1: M20 | Länge 1: 22 | Material: Stahl/steel
selbstsicherndmit beweglichem SchäkelMaterial: Druckknopf: Aluminium, orange eloxiertFeder: rostfreier StahlST: Bolzen / Schäkel: Vergütungsstahl, vergütet, manganphosphatiertGewindeelement: rostfreier Stahl 1.4542, ausscheidungsgehärtetNI: Bolzen: rostfreier Stahl 1.4542, ausscheidungsgehärtetSchäkel: rostfreier Stahl 1.4571Gewindeelement: rostfreier Stahl 1.4542, ausscheidungsgehärtetDie Gewindetragbolzen SM 1273-831 aus Stahl und aus rostfreiem Stahl sind korrosionsgeschützt.Die Varianten aus rostfreiem Stahl sind aufgrund ihrer verbesserten Korrosions- und Witterungsbeständigkeit gut für den Einsatz im Außenraum geeignet.Drücken = EntriegelnDie Gewindetragbolzen SM 1273-831 sind schnell und einfach einsetzbare, robuste Tragelemente mit beweglichem Schäkel.Durch Drücken des Betätigungsknopfes wird die Verriegelung der Gewindesegmente aufgehobenund der Tragbolzen kann in das Aufnahmegewinde hinein bzw. aus ihm heraus bewegt werden.Es entfällt somit das zeitaufwändige Ein- und Ausschrauben wie z. B. bei einer Ringschraube.Ein Sicherungssteg schützt den Betätigungsknopf vor unbeabsichtigtem Auslösen.Keine speziellen Tragehilfen am Werkstück erforderlich.Montage:Gewindetragbolzen müssen in lehrenhaltigen Gewinde eingesetzt werden.Knopf eindrücken und gedrückt halten | Gewindetragbolzen einstecken | Knopf loslassen (Der Knopf muss sich wieder in Ausgangsstellung befinden.) | Gewindetragbolzen von Hand andrehen, bis er vollflächig auf der Auflagefläche aufliegt. | Es muss sichergestellt sein, dass die Gewindesegmente im Aufnahmegewinde eingerastet sind.Der Knopf (A) ist arretiert, wenn er durch die Federkraft wieder in die Ausgangsstellung zurück gefedert istKnopf unter Last nicht betätigen!Demontage:Gewindetragbolzen ca. eine viertel Umdrehung entgegen dem Uhrzeigersinn aufdrehen | Knopf eindrücken und gedrückt halten | Gewindetragbolzen herausziehen | Knopf loslassen.Hinweise:- Gewindetragbolzen sind gebaut für das Heben und Halten von Einzellasten (keine Personen!!).- Gewindetragbolzen sind nicht für das ständige Rotieren der Last geeignet.- Verschmutzungen (z. B. Schleifschlamm, Öl- und Emulsionsablagerungen, Stäube...) können die Funktion von Gewindetragbolzen beeinträchtigen.- Vor jedem Gebrauch sind Gewindetragbolzen auf sichtbare Mängel (z. B. Verformungen, Brüche, Risse, Beschädigungen, fehlende Kugeln, Korrosion, Funktion der Entriegelung) zu untersuchen.- Gewindetragbolzen müssen vollständig in ein lehrenhaltiges Gewinde eingedreht werden und vollflächig auf der Auflagefläche aufliegen.- Beim Einsetzen von einem Gewindetragbolzen muss das Rotieren der Last verhindert werden.- Stoß- und Schlagbelastungen auch der nicht im Einsatz befindlichen Gewindetragbolzen sind zu vermeiden.- Die volle Beweglichkeit des Schäkels muss gewährleistet sein.- Beschädigte Gewindetragbolzen dürfen nicht weiter benutzt werden.- Die Belastungswerte F1 / F2 / F3 (Tabelle Datenblatt) gelten für das Heben in einer Aufnahme aus Stahl.Temperatureinsatz bis max. +250 °C.Compliance: RoHS-konform: ja - Enthält Blei – Konform gemäß den Ausnahmen 6a / 6b / 6c.Enthält SVHC-Stoffe >0,1% w/w – SVHC Liste [REACH] Stand 25.06.2025.Enthält Proposition 65 Stoffe.Frei von Konfliktmineralien.

Varianten ab 216,50 €* inkl. MwSt.
268,08 €* inkl. MwSt.
Gewindetragbolzen | SM 1273-832
Gewindetragbolzen | SM 1273-832
Durchmesser 1: M16 | Länge 1: 19 | Material: Stahl/steel
selbstsicherndmit beweglichem Schäkelfür Zentrierbohrungen nach DIN 332 Material:Druckknopf: Aluminium, orange eloxiertFeder: rostfreier StahlST:Bolzen / Schäkel: Vergütungsstahl, vergütet, manganphosphatiertGewindeelement: rostfreier Stahl 1.4542, ausscheidungsgehärtetNI:Bolzen: rostfreier Stahl 1.4542, ausscheidungsgehärtetSchäkel: rostfreier Stahl 1.4571Gewindeelement: rostfreier Stahl 1.4542, ausscheidungsgehärtet Die Gewindetragbolzen SM 1273-832 aus Stahl und aus rostfreiem Stahl sind korrosionsgeschützt.Die Varianten aus rostfreiem Stahl sind aufgrund ihrer verbesserten Korrosions- und Witterungsbeständigkeitgut für den Einsatz im Außenraum geeignet. Drücken = EntriegelnDie Gewindetragbolzen SM 1273-832 sind schnell und einfach einsetzbare, robuste Tragelemente mit beweglichem Schäkel.Durch Drücken des Betätigungsknopfes wird die Verriegelung der Gewindesegmente aufgehobenund der Tragbolzen kann in das Aufnahmegewinde hinein bzw. aus ihm heraus bewegt werden.Es entfällt somit das zeitaufwändige Ein- und Ausschrauben wie z. B. bei einer Ringschraube.Ein Sicherungssteg schützt den Betätigungsknopf vor unbeabsichtigtem Auslösen.Keine speziellen Tragehilfen am Werkstück erforderlich.Montage:Gewindetragbolzen müssen in lehrenhaltigen Gewinde eingesetzt werden.Knopf eindrücken und gedrückt halten | Gewindetragbolzen einstecken | Knopf loslassen (Der Knopf muss sich wieder in Ausgangsstellung befinden.) | Gewindetragbolzen von Hand andrehen, bis er vollflächig auf der Auflagefläche aufliegt. | Es muss sichergestellt sein, dass die Gewindesegmente im Aufnahmegewinde eingerastet sind.Der Knopf (A) ist arretiert, wenn er durch die Federkraft wieder in die Ausgangsstellung zurück gefedert ist.Knopf unter Last nicht betätigen!Demontage:Gewindetragbolzen ca. eine viertel Umdrehung entgegen dem Uhrzeigersinn aufdrehen | Knopf eindrücken und gedrückt halten | Gewindetragbolzen herausziehen | Knopf loslassen.Hinweise:- Gewindetragbolzen sind gebaut für das Heben und Halten von Einzellasten (keine Personen!!).- Gewindetragbolzen sind nicht für das ständige Rotieren der Last geeignet.- Verschmutzungen (z. B. Schleifschlamm, Öl- und Emulsionsablagerungen, Stäube...) können die Funktion von Gewindetragbolzen beeinträchtigen.- Vor jedem Gebrauch sind Gewindetragbolzen auf sichtbare Mängel (z. B. Verformungen, Brüche, Risse, Beschädigungen, fehlende Kugeln, Korrosion, Funktion der Entriegelung) zu untersuchen.- Gewindetragbolzen müssen vollständig in ein lehrenhaltiges Gewinde eingedreht werden und vollflächig auf der Auflagefläche aufliegen.- Beim Einsetzen von einem Gewindetragbolzen muss das Rotieren der Last verhindert werden.- Stoß- und Schlagbelastungen auch der nicht im Einsatz befindlichen Gewindetragbolzen sind zu vermeiden.- Die volle Beweglichkeit des Schäkels muss gewährleistet sein.- Beschädigte Gewindetragbolzen dürfen nicht weiter benutzt werden.- Die Belastungswerte F1 / F2 / F3 (Tabelle Datenblatt) gelten für das Heben in einer Aufnahme aus Stahl.Temperatureinsatz bis max. +250 °C.Compliance:RoHS-konform: ja - Enthält Blei – Konform gemäß den Ausnahmen 6a / 6b / 6c.Enthält SVHC-Stoffe >0,1% w/w – SVHC Liste [REACH] Stand 25.06.2025.Enthält Proposition 65 Stoffe.Frei von Konfliktmineralien.

Varianten ab 227,28 €* inkl. MwSt.
246,51 €* inkl. MwSt.
Gewindetragbolzen | SM 1273-833
Gewindetragbolzen | SM 1273-833
Durchmesser 1: M16 | Länge 1: 17 | Material: Stahl/steel
selbstsicherndmit drehbarem SchäkelMaterial:Druckknopf: Aluminium, orange eloxiertFeder: rostfreier StahlST:Bolzen / Schäkel: Vergütungsstahl, vergütet, manganphosphatiertGewindeelement: rostfreier Stahl 1.4542, ausscheidungsgehärtetNI:Bolzen: rostfreier Stahl 1.4542, ausscheidungsgehärtetSchäkel: rostfreier Stahl 1.4571Gewindeelement: rostfreier Stahl 1.4542, ausscheidungsgehärtetDie Gewindetragbolzen SM 1273-833 aus Stahl und aus rostfreiem Stahl sind korrosionsgeschützt.Die Varianten aus rostfreiem Stahl sind aufgrund ihrer verbesserten Korrosions- und Witterungsbeständigkeitgut für den Einsatz im Außenraum geeignet.Drücken = EntriegelnDie Gewindetragbolzen SM 1273-833 sind schnell und einfach einsetzbare, robuste Tragelemente. Durch Drücken des Betätigungsknopfes wird die Verriegelung der Gewindesegmente aufgehoben und der Tragbolzen kann in das Aufnahmegewinde hinein bzw. aus ihm heraus bewegt werden Es entfällt somit das zeitaufwändige Ein- und Ausschrauben wie z. B. bei einer Ringschraube. Der Schäkel ist schwenkbar, allseitig drehbar und richtet sich beim Anheben immer in Zugrichtung aus, ohne dass sich der Bolzen dreht.Dadurch wird der Gewindetragbolzen nicht aus dem Gewinde gedreht unddas Bauteil kann sicher angehoben werden.Ein Sicherungssteg schützt den Betätigungsknopf vor unbeabsichtigtem Auslösen.Keine speziellen Tragehilfen am Werkstück erforderlich.Montage:Gewindetragbolzen müssen in lehrenhaltigen Gewinde eingesetzt werden.Knopf eindrücken und gedrückt halten | Gewindetragbolzen einstecken | Knopf loslassen (Der Knopf muss sich wieder in Ausgangsstellung befinden.) | Gewindetragbolzen von Hand andrehen, bis er vollflächig auf der Auflagefläche aufliegt. | Es muss sichergestellt sein, dass die Gewindesegmente im Aufnahmegewinde eingerastet sind, die Verriegelung der Gewindeelemente muss durch die Federkraft selbstständig erfolgen.Der Knopf (A) ist arretiert, wenn er durch die Federkraft wieder in die Ausgangsstellung zurück gefedert ist.Knopf unter Last nicht betätigen!Demontage:Gewindetragbolzen ca. eine viertel Umdrehung entgegen dem Uhrzeigersinn aufdrehen | Knopf eindrücken und gedrückt halten | Gewindetragbolzen herausziehen | Knopf loslassen.Hinweise:- Gewindetragbolzen sind gebaut für das Heben und Halten von Einzellasten (keine Personen!!).- Gewindetragbolzen sind nicht für das ständige Rotieren der Last geeignet.- Verschmutzungen (z. B. Schleifschlamm, Öl- und Emulsionsablagerungen, Stäube...) können die Funktion von Gewindetragbolzen beeinträchtigen.- Vor jedem Gebrauch sind Gewindetragbolzen auf sichtbare Mängel (z. B. Verformungen, Brüche, Risse, Beschädigungen, fehlende Kugeln, Korrosion, Funktion der Entriegelung) zu untersuchen.- Gewindetragbolzen müssen vollständig in ein lehrenhaltiges Gewinde eingedreht werden und vollflächig auf der Auflagefläche aufliegen.- Beim Einsetzen von einem Gewindetragbolzen muss das Rotieren der Last verhindert werden.- Stoß- und Schlagbelastungen auch der nicht im Einsatz befindlichen Gewindetragbolzen sind zu vermeiden.- Die volle Beweglichkeit des Schäkels muss gewährleistet sein.- Beschädigte Kugeltragbolzen dürfen nicht weiter benutzt werden.- Die Belastungswerte F1 / F2 / F3 (Tabelle Datenblatt) gelten für das Heben in einer Aufnahme aus Stahl.Temperatureinsatz bis max. +250 °C,bei M24 ab 150°C lineare Abnahme der Belastbarkeit.Compliance:RoHS-konform: ja - Enthält Blei – Konform gemäß den Ausnahmen 6a / 6b / 6c.Enthält SVHC-Stoffe >0,1% w/w – SVHC Liste [REACH] Stand 25.06.2025.Enthält Proposition 65 Stoffe.Frei von Konfliktmineralien.

Varianten ab 358,52 €* inkl. MwSt.
376,72 €* inkl. MwSt.
Gewindetragbolzen [inch] | SM 1273-835
Gewindetragbolzen [inch] | SM 1273-835
Durchmesser 1: 3/4-10 | Länge 1: 0,866 | Material: Rostfreier_Stahl/stainless_steel
selbstsicherndmit drehbarem Schäkelin INCH-AbmessungenMaterial:Druckknopf: Aluminium, rot eloxiertFeder: rostfreier StahlST:Bolzen / Schäkel: Vergütungsstahl, vergütet, manganphosphatiertGewindeelement: rostfreier Stahl 1.4542, ausscheidungsgehärtetNI:Bolzen: rostfreier Stahl 1.4542, ausscheidungsgehärtetSchäkel: rostfreier Stahl 1.4571Gewindeelement: rostfreier Stahl 1.4542, ausscheidungsgehärtetDie Gewindetragbolzen SM 1273-835 aus Stahl und aus rostfreiem Stahl sind korrosionsgeschützt.Die Varianten aus rostfreiem Stahl sind aufgrund ihrer verbesserten Korrosions- und Witterungsbeständigkeitgut für den Einsatz im Außenraum geeignet.Drücken = EntriegelnDie Gewindetragbolzen SM 1273-835 sind schnell und einfach einsetzbare, robuste Tragelemente.Durch Drücken des Betätigungsknopfes wird die Verriegelung der Gewindesegmente aufgehobenund der Tragbolzen kann in das Aufnahmegewinde hinein bzw. aus ihm heraus bewegt werden.Es entfällt somit das zeitaufwändige Ein- und Ausschrauben wie z. B. bei einer Ringschraube.Der Schäkel ist schwenkbar, allseitig drehbar und richtet sich beim Anheben immer in Zugrichtung aus, ohne dass sich der Bolzen dreht.Dadurch wird der Gewindetragbolzen nicht aus dem Gewinde gedreht und das Bauteil kann sicher angehoben werden.Ein Sicherungssteg schützt den Betätigungsknopf vor unbeabsichtigtem Auslösen.Keine speziellen Tragehilfen am Werkstück erforderlich.Montage:Gewindetragbolzen müssen in lehrenhaltigen Gewinde eingesetzt werden.Knopf eindrücken und gedrückt halten | Gewindetragbolzen einstecken | Knopf loslassen (Der Knopf muss sich wieder in Ausgangsstellung befinden.) | Gewindetragbolzen von Hand andrehen, bis er vollflächig auf der Auflagefläche aufliegt. | Es muss sichergestellt sein, dass die Gewindesegmente im Aufnahmegewinde eingerastet sind, die Verriegelung der Gewindeelemente muss durch die Federkraft selbstständig erfolgen.Der Knopf (A) ist arretiert, wenn er durch die Federkraft wieder in die Ausgangsstellung zurück gefedert ist.Knopf unter Last nicht betätigen!Demontage:Gewindetragbolzen ca. eine viertel Umdrehung entgegen dem Uhrzeigersinn aufdrehen | Knopf eindrücken und gedrückt halten | Gewindetragbolzen herausziehen | Knopf loslassen.Hinweise:- Gewindetragbolzen sind gebaut für das Heben und Halten von Einzellasten (keine Personen!!).- Gewindetragbolzen sind nicht für das ständige Rotieren der Last geeignet.- Verschmutzungen (z. B. Schleifschlamm, Öl- und Emulsionsablagerungen, Stäube...) können die Funktion von Gewindetragbolzen beeinträchtigen.- Vor jedem Gebrauch sind Gewindetragbolzen auf sichtbare Mängel (z. B. Verformungen, Brüche, Risse, Beschädigungen, fehlende Kugeln, Korrosion, Funktion der Entriegelung) zu untersuchen.- Gewindetragbolzen müssen vollständig in ein lehrenhaltiges Gewinde eingedreht werden und vollflächig auf der Auflagefläche aufliegen.- Beim Einsetzen von einem Gewindetragbolzen muss das Rotieren der Last verhindert werden.- Stoß- und Schlagbelastungen auch der nicht im Einsatz befindlichen Gewindetragbolzen sind zu vermeiden.- Die volle Beweglichkeit des Schäkels muss gewährleistet sein.- Beschädigte Gewindetragbolzen dürfen nicht weiter benutzt werden.- Die Belastungswerte F1 / F2 / F3 (Tabelle Datenblatt) gelten für das Heben in einer Aufnahme aus Stahl.Temperatureinsatz bis max. +250 °C.Compliance:RoHS-konform: ja - Enthält Blei – Konform gemäß den Ausnahmen 6a / 6b / 6c.Enthält SVHC-Stoffe >0,1% w/w – SVHC Liste [REACH] Stand 25.06.2025.Enthält Proposition 65 Stoffe.Frei von Konfliktmineralien.

Varianten ab 367,63 €* inkl. MwSt.
631,81 €* inkl. MwSt.
Gewindetragbolzen | SM 1273-836
Gewindetragbolzen | SM 1273-836
Durchmesser 1: M12 | Länge 1: 17 | Material: Rostfreier_Stahl/stainless_steel
selbstsicherndmit HandgriffMaterial:NI:Druckknopf: Aluminium, rot eloxiertGriff: Aluminium, blau eloxiertBolzen: rostfreier Stahl 1.4542, ausscheidungsgehärtetGewindeelement: rostfreier Stahl 1.4542, ausscheidungsgehärtetFeder: rostfreier StahlDie Gewindetragbolzen SM 1273-836 sind korrosions- und witterungsbeständigkeit und somit gut für den Einsatz im Außenraum geeignet.Drücken = EntriegelnDie Gewindetragbolzen SM 1273-836 sind schnell und einfach einsetzbare, robuste Tragelemente mit Handgriff.Zum Heben von Lasten wird der Gewindetragbolzen in eine Gewindebohrung gesteckt. Im Gegensatz zu einer Ringschraube entfällt somit das zeitaufwändige Ein- und Ausschrauben.Montage:Knopf eindrücken und gedrückt halten | Gewindetragbolzen einstecken | Knopf loslassen (Der Knopf muss sich wieder in Ausgangsstellung befinden. Eine deutlich erkennbare grüne Markierung am Druckknopf signalisiert die richtige Stellung.) | Gewindetragbolzen von Hand andrehen, bis er vollflächig auf der Auflagefläche aufliegt. | Es muss sichergestellt sein, dass die Gewindesegmente im Aufnahmegewinde eingerastet sind.Der Knopf (A) ist arretiert, wenn er durch die Federkraft wieder in die Ausgangsstellung zurückgefedert und die grüne Markierung deutlich erkennbar ist.Knopf unter Last nicht betätigenDemontage:Gewindetragbolzen ca. eine viertel Umdrehung entgegen dem Uhrzeigersinn aufdrehen | Knopf eindrücken und gedrückt halten | Gewindetragbolzen herausziehen | Knopf loslassen.Hinweise:- Gewindetragbolzen mit Handgriff sind gebaut für das händische Heben und Halten von Einzellasten (keine Personen!!).- Gewindetragbolzen mit Handgriff dürfen nicht an einen Kran, ein Hebezeug o. ä. angebracht, sondern nur von Hand getragen werden.- Gewindetragbolzen mit Handgriff sind nicht für das ständige Rotieren der Last geeignet.- Verschmutzungen (z. B. Schleifschlamm, Öl- und Emulsionsablagerungen, Stäube...) können die Funktion von Gewindetragbolzen mit Handgriff beeinträchtigen.- Beschädigte Gewindetragbolzen mit Handgriff können zu Verletzungen führen.- Vor jedem Gebrauch sind Gewindetragbolzen mit Handgriff auf sichtbare Mängel (z. B. Verformungen, Brüche, Risse, Beschädigungen, fehlende Gewindeelemente, Korrosion, Funktion der Entriegelung) zu untersuchen. - Gewindetragbolzen mit Handgriff müssen vollständig in ein lehrenhaltiges Gewinde eingedreht werden und vollflächig auf der Auflagefläche aufliegen.- Beim Einsetzen von einem Gewindetragbolzen mit Handgriff muss das Rotieren der Last verhindert werden.- Stoß- und Schlagbelastungen auch der nicht im Einsatz befindlichen Gewindetragbolzen mit Handgriff sind zu vermeiden.- Beschädigte Gewindetragbolzen mit Handgriff dürfen nicht weiter benutzt werden.- Funktionsprüfung: Verriegelung der Gewindeelemente muss durch die Federkraft selbstständig erfolgen.Temperatureinsatz bis max. +250 °C.Compliance:RoHS-konform: neinEnthält SVHC-Stoffe >0,1% w/w – SVHC Liste [REACH] Stand 25.06.2025.Enthält Proposition 65 Stoffe.Frei von Konfliktmineralien.

Varianten ab 199,99 €* inkl. MwSt.
212,20 €* inkl. MwSt.