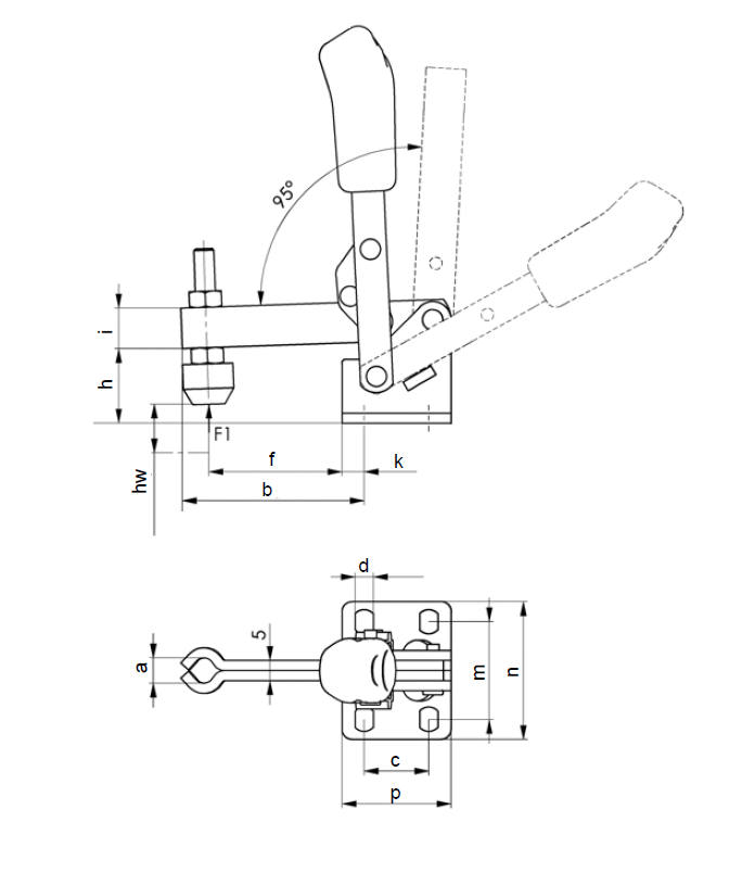
Vertical toggle clamp | SM 2050








clamping arm
with fixed distance of clamping screw and horizontal base
body: steel,
zinc plated and passivated
handle: plastic,
high quality oil-resistant, red,
ergonomic handle with large grip surface and soft grip part.
rivets: stainless steel
bushings: case hardened and greased
With bearing spots greased.
Supplied complete with tempered, galvanized clamping screw SM 2205 to weld on.
on request:
Handle parts in yellow, blue, green, orange, black.
Clamp type: | Vertical clamping device |
---|---|
Colour of handle: | black, blue / black, green / black, orange / black, red / black, yellow / black |
Material: | Handle - plastic, Steel |
Speciality: | Handle - oil resistant, To screw on, with fixed pressing screw, with massive support arm |
Accessories
Similar Items